Logo - T.J. Frazier Ltd.

Technical reference page: 53

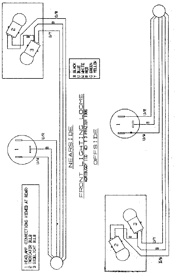
Wiring diagram - Front lighting - all models