Logo - T.J. Frazier Ltd.

Technical reference page: 95

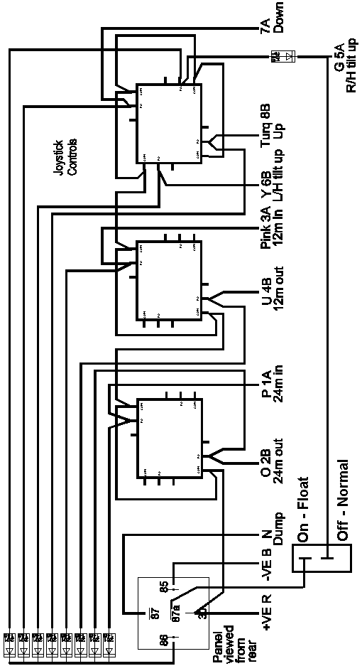
Electro-spool valve wiring - Stealth with floating tilt