Logo - T.J. Frazier Ltd.

Page ref: 85

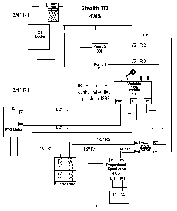
Hydraulic piping - Stealth TDI 4WS - std system