Logo - T.J. Frazier Ltd.

Page ref: 86

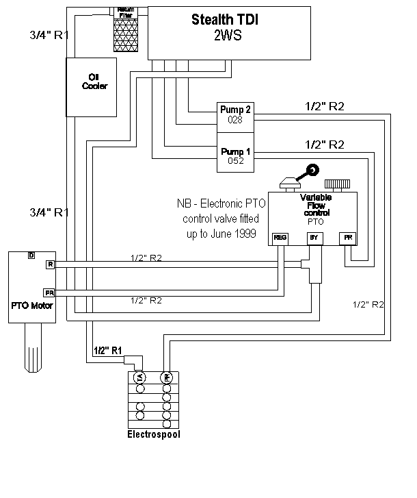
Hydraulic piping - Stealth TDI 2ws - Std system