Logo - T.J. Frazier Ltd.

Page ref: 205

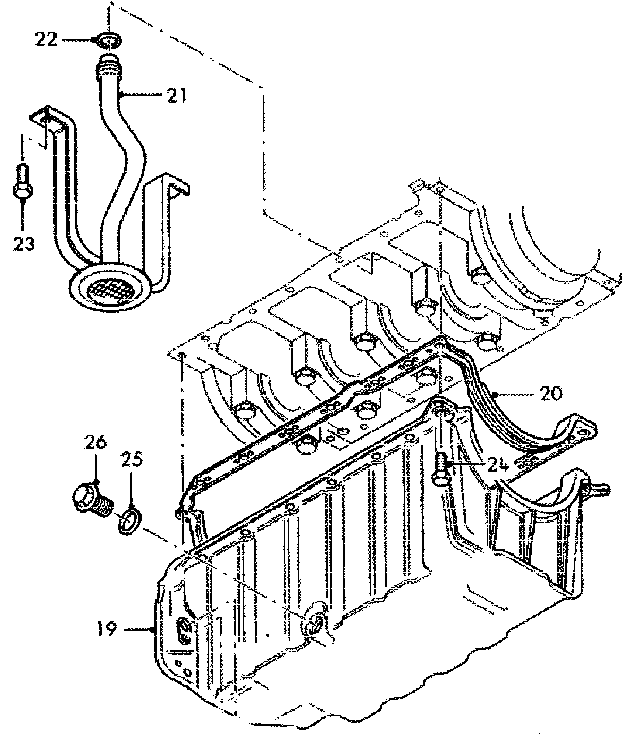
Ford XLD418 NA/TCI Aluminium sump