Logo - T.J. Frazier Ltd.

Page ref: 169

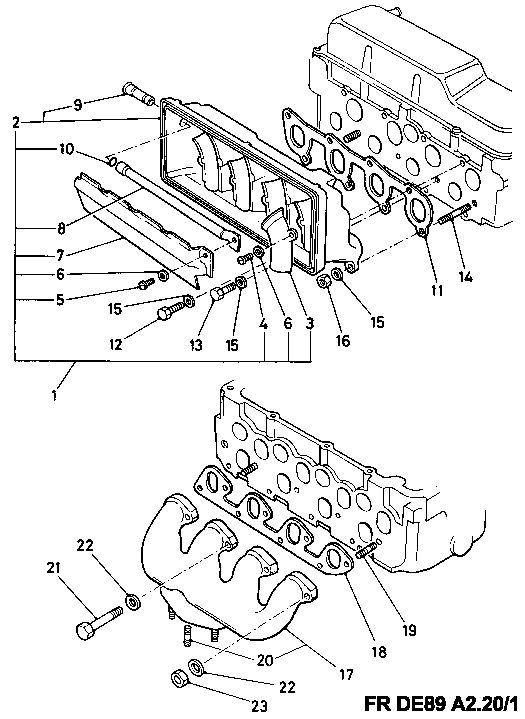
Ford XLD416 1.6 Manifolds Inlet/exhaust