Logo - T.J. Frazier Ltd.

Page ref: 200

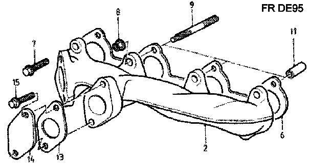
Ford XLD418 TCI Exhaust manifold