Logo - T.J. Frazier Ltd.

Page ref: 162

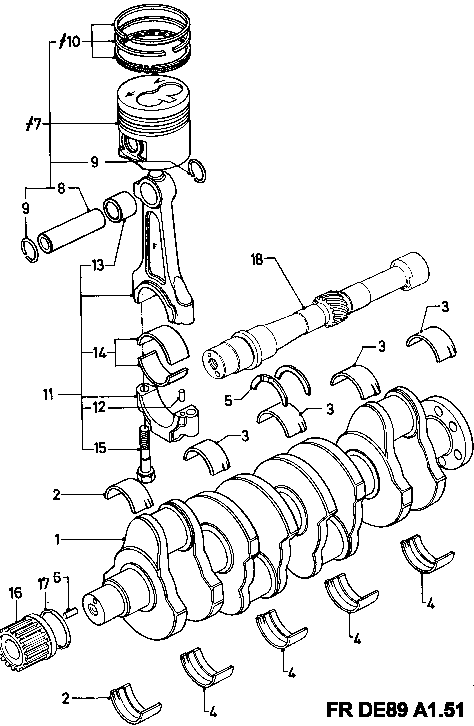
XLD418 NA/TC/TCI Crankshaft / pistons